古い世代のファイルを復元
マニュアルTOP > 復元について > 古い世代のファイルを復元
AOSBOX Windows アプリから
-
デスクトップからAOSBOXアイコンをダブルクリックして、アプリウィンドウを開きます。
-
「復元」をクリックします。

-
復元ユーティリティーで、復元元のコンピューター名を選択します。
-
古いバージョンを復元するファイルを選択し、そのファイルの横にある「世代の表示」をクリックします。

-
「世代」ウィンドウで、復元したい世代をクリックし「保存」ボタン「✔」をクリックします。

-
復元先の場所、復元オプション、および復元する時間枠を選択し、「次へ」ボタンをクリックします。
-
復元処理を続行します。
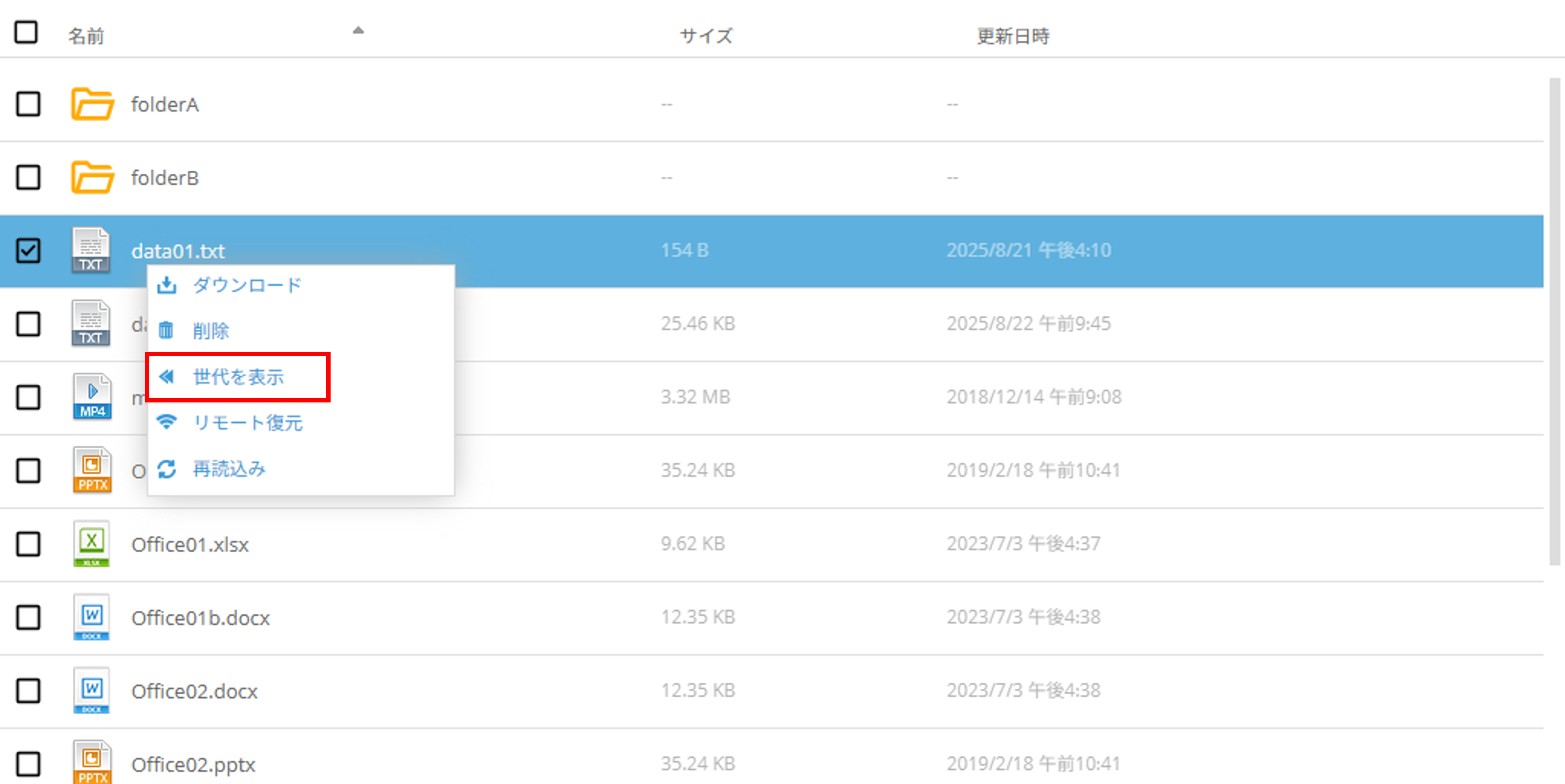
Web管理画面から
-
AOSBOX Web管理画面にアクセスしてログインします。
-
上部のメニューから「マイコンピューター」を選択します。
-
「検索」を使用して復元するファイル/フォルダーを検索するか、復元するファイル/フォルダーがあるコンピューター名をクリックして、その場所を参照します。
-
そのファイルを右クリックしてメニューから「世代の表示」をクリックします。

-
ダウンロードしたい世代の「ダウンロード」をクリックします。
※注意
・一度に1つのファイルのバージョンを表示できることに注意してください。
・アーカイブしたコンピューターから復元する場合も、同じ方法が適用されます。